|
Distributor o-ring
|
|
08-25-2005, 02:31 PM
Post: #1
|
|||
|
|||
|
Distributor o-ring
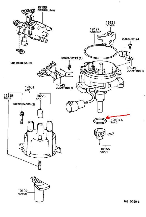
I have the oil at the bottom of distributor housing. Is the o-ring the only thing I should change?
Regards Andrej |
|||
|
08-25-2005, 02:40 PM
Post: #2
|
|||
|
|||
|
Distributor o-ring
Yep, go for it! (dont forget to check your valve cover gaskets if it doesnt do the trick)
FABRICA MI DIEM, PVNC! |
|||
|
09-25-2005, 08:47 PM
Post: #3
|
|||
|
|||
|
Distributor o-ring
If the inside of the cap is wet, you can rebuild the dizzy with a new inner seal. The seal is not avail from Toyota, but you can order one through k-box (do a google search) which is a Canadian company. Around $15 for the kit, which includes all the o-rings, the inner seal, and a new roll-pin for the dizzy gear.
Have a qualified technician do this repair, it's not for the faint of heart. The gear orientation needs to be indexed back, otherwise you'll be out 180 degrees, which makes it more fun to "time" the engine afterwards. |
|||
|
09-25-2005, 09:44 PM
Post: #4
|
|||
|
|||
|
Distributor o-ring
I'd rather just get a good dizzy from the wrecking yard if that kind of repair was necessary... I thought the only way oil could reach the distributor was past the o-ring or from the outside..
FABRICA MI DIEM, PVNC! |
|||
|
09-26-2005, 07:26 AM
Post: #5
|
|||
|
|||
|
Distributor o-ring
Tnx, I''l have a look...
Regards Andrej |
|||
|
« Next Oldest | Next Newest »
|
| Possibly Related Threads... | |||||
| Thread | Author | Replies | Views | Last Post | |
| ring gear bolts | DJexor | 3 | 7,478 |
12-26-2016 10:56 PM Last Post: totta Crolla |
|
| 16v distributor hole plug | harkes | 8 | 12,067 |
10-12-2016 11:13 AM Last Post: harkes |
|
| Changing distributor when carb 4age | izanagi | 14 | 20,607 |
07-04-2016 03:27 PM Last Post: Uzelac |
|
| Checking ring gear diff | izanagi | 3 | 6,523 |
07-09-2014 07:38 AM Last Post: jondee86 |
|
| Ring & pinion ratio. | izanagi | 27 | 35,453 |
07-05-2014 07:35 PM Last Post: assassin10000 |
|
User(s) browsing this thread: 1 Guest(s)




